Какой песок нужен для фундамента
Наиболее экономичны фундаменты из крупнозернистого песка. Их устраивают под небольшие одноэтажные здания на непучнистых грунтах с низким уровнем, стояния подпочвенных вод, ниже на 0,5—1 м уровня заложения фундамента (6) и хорошим поверхностным водоотводом.

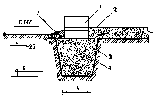
Конструкция песчаного фундамента:
1—цоколь; 2—подсыпка; 3—слой щебня, гравия или кирпичного боя толщиной 20 см с проливкой раствором; 4 — песчаный фундамент; 5—ширина фундамента; 6—уровень заложения; 7 — глиняный замок.
Песчаный фундамент потребует минимума земляных работ и расхода дорогостоящих строительных материалов. Удалив почвенно-растительный слой, можно приступать к отсыпке песка. Нижнюю часть фундамента сформируют несколько последовательно уложенных слоев толщиной по 15-20 см. Каждый после укладки трамбуется и поливается водой. Верхняя часть (не доходя 25 - 30 см до планировочной отметки) выполняется из скрепленных цементным раствором гравия, щебня или кирпичного боя с послойным трамбованием.
Похожие материалы: